第二世界·全端云
更新日志
热点问题
订单path中心配置
如何激活全端云付费插件
审核驳回,隐私保护指引
服务器迁移步骤
一键授权无变化
模板库暂无对应模板
微信支付报错
获取当前的模糊地理位置接口
个人中心联系我们点击无反应
跳转外部网页
小程序“上门地址”添加失败
多商户绑定特约商户支付报错
安装教程
项目实施流程
项目实施流程图
总平台
首页
项目
自动注册
项目创建
方案
解决方案
方案分类
用户
全部用户
正常使用
已禁用
网站
产品动态
功能展示
项目后台
总览
数据预览
销售统计
销量排行
商品
商品分类
商城规则
风格分类
商品采集
商品参数
退货地址
供应商
内容
文章分类
文章列表
文章评论
组图分类
组图列表
视频列表
订单
商品订单
售后订单
开票申请
分销
基本设置
分销管理
分销等级
申请列表
分销订单
财务
提现列表
基础设置
设计
系统风格
页面装修
系统模板
个人中心
底部菜单
首页跳转
系统
基础设置
模板消息
订阅消息
海报设置
版权管理
通知设置
远程附件
页面链接
员工
员工列表
岗位列表
角色列表
应用中心
全端渠道
营销引流
限时秒杀
多人拼团
预约预定
全民砍价
摇一摇抽奖
文章营销
视频营销
截流口令
发圈素材
新人有礼
邀新奖励
团队分红
全民股东
类目股东
区域股东
流量广告
CPS
客群维护
积分规则
积分签到
积分兑换
储值赠送
生日祝福
优惠券
开屏优惠券
微信直播
打卡活动
用户信息
行业应用
商家入驻
店内点餐
同城论坛
供求关系
活动报名
营销名片
知识付费
宠物领养
酒店民宿
礼品卡券
次卡时长卡
聚合配送
电子卡密
电子画册
地图导览
地图导览(手绘)
信息查询
会员导入
会员名录
积分提货卡
余额提货卡
留言反馈
高级功能
通用表单
超级表单
快速支付
微信客服
图库管理
文件下载
乐刷支付
企微对接
开放平台
数据大屏
微信外链
文案助手
易打单
海报装修
供应链
送礼物
管理工具
地推人员
门店展示
物流查询
运费模板
同城配送
小票打印
全站雷达
公众号通知
图片水印
用户
会员统计
用户管理
消费流水
积分流水
会员设置
会员等级
申请记录
开卡记录
标签管理
UIPAY支付
本文档使用 MrDoc 发布
-
+
首页
开屏优惠券
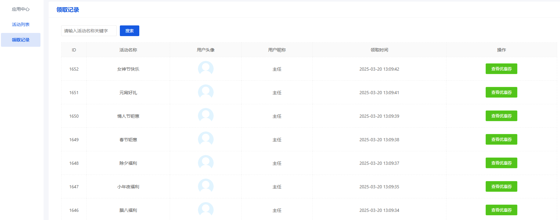
### 开屏优惠券插件 `插件位置:应用->客群维护->开屏优惠券` ### 1.插件介绍 - 用户打开小程序首页弹出优惠券页面,可直接领取优惠券 - 用户在后台预设时间内打开首页弹出活动弹窗,领取后不会再次出现 ### 2.核心功能 - 系统提供30+套节日活动皮肤 - 用户可自定义主题图、背景色等 - 活动领取优惠券应用活动优惠券有效期设置,不受本身数量和有效期限制 ### 3.使用流程 ```mindmap # 模块流程 ### 1.添加活动 #### 重点1:选择活动方案,支持自定义 #### 重点2:设置活动推送日期和优惠券使用期限 #### 重点3:添加优惠券,仅支持类型为系统发放的优惠券 ### 2.活动管理:编辑修改活动内容,查看优惠券领取记录 ### 3.用户小程序端首页领取优惠券 ### 4.小程序个人中心查看我的优惠券 ### 5.小程序端使用优惠券:商品下单、店内支付 ``` ### 4.常见问题 无 ### 5.计算逻辑 无 ### 6.界面演示 添加活动   领取记录  <br><img src="/media/202503/微信图片_20250314155612_1741938983.jpg" alt="图片alt" title="图片title" width='300'>
xuezhenni
2025年3月25日 10:20
转发文档
收藏文档
上一篇
下一篇
手机扫码
复制链接
手机扫一扫转发分享
复制链接
Markdown文件
分享
链接
类型
密码
更新密码